主题
一、概述
ARINC 是美国航空无线电公司英文字头的缩写, 该公司1977年7月21日出版了“ARINC 429规范”一书,429规范就是飞机电子系统之间数字式数据传输的标准格式,在飞机上使用429总线的电子设备均应遵守这个规范,这样才能保证电子设备之间数据通讯的标准化,通用化。在429规范里规定了从所选定输出接口发送信息的方法。
二、参考资料
ARINC 429标准协议规范:ARINC-429_Protocol_Tutorial
三、总线连接方式
ARINC-429总线标准给出一种串行标准,采用差分输出的对称方式工作,是面向接口型的单向广播式传输总线。 标准规定,总线上只允许有一个发送器,但可以有多个接收器(最多为20个)。 总线标准建议采用双绞屏蔽线异步传输数据。 
四、总线电平特征
编码方式: ARINC总线传输的是双极性归零式信号; 信号从高电平回归零电平表示逻辑状态1; 信号从低电平回归到零电平表示逻辑状态0 。
五、传输协议
在物理层总线上,一个数据包传输32bit数据,线传输低位再传输高位;
Bit1~Bit8:称为Label域,用八进制表示,用于标示数据类型。这个数据类型是指,该次传输的数据是与飞行器上哪个子系统相关的。 Bit9~Bit10:SDI(Source/Destination Identicifiers),标示数据目的地,更常用的标示数据起源地。 Bit11~Bit29:数据域,用BCD码或者BNR(Binary Number Representatiion)码表示,这两种编码格式可以混合使用。 Bit30~Bit31:SSM(Signal/Status Matrix),用于描述某次传输的数据性质。 

Bit32:校验位,ARINC429使用奇校验。
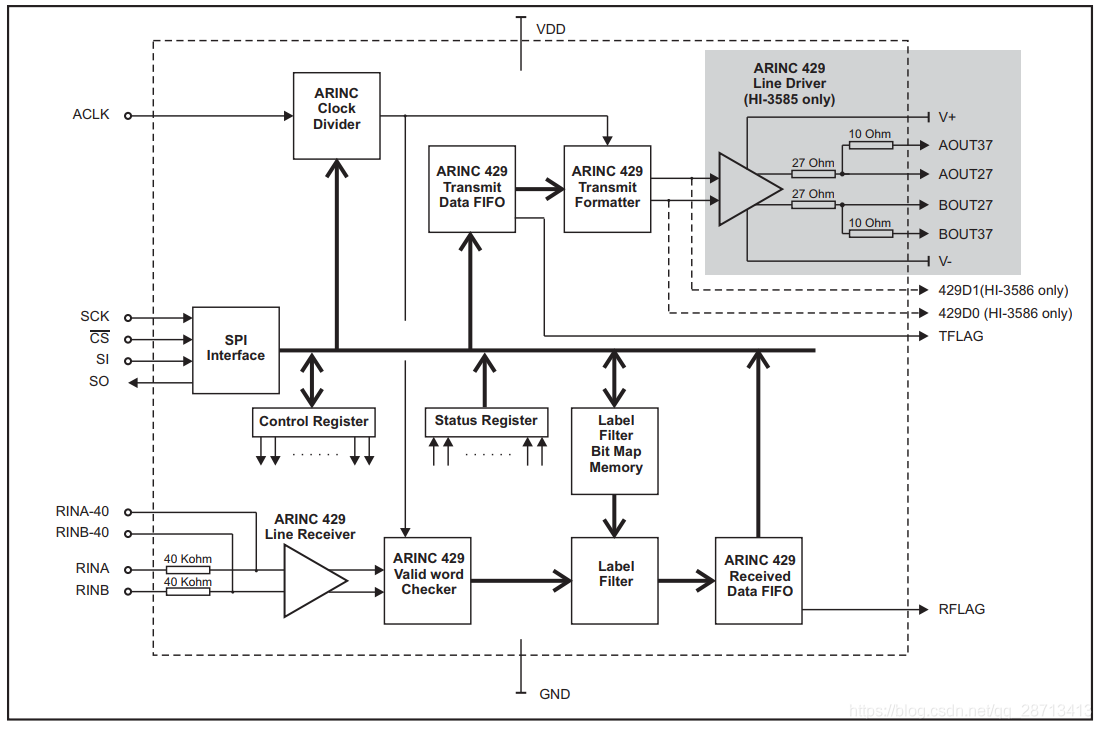
六、ARINC 429协议芯片 HI-3585
HI-3585是HOLT公司生产的SPI接口的满足ARINC 429总线规范的协议芯片。 HI-3585协议芯片内部原理框图:
主要特征: